柴油发电机组两极式调速器全程式调速器工作原理及其构造
上周,电力跟大家一起学了《柴油发电机组单程式调速器工作原理及其构造》,今天主要学习柴油发电机组另外两种调速器(两极式调速器全程式调速器)的工作原理。两极式调速器与单程式调速器的主要不同点是:调速弹簧由两根(或两组)弹簧所组成,低速弹簧较长但刚性较弱,高速弹簧较短但刚性强,两弹簧都有一定的预紧力。两极式调速器按调速器起作用的转速范围不同,又可分为两极式调速器和全程式调速器。
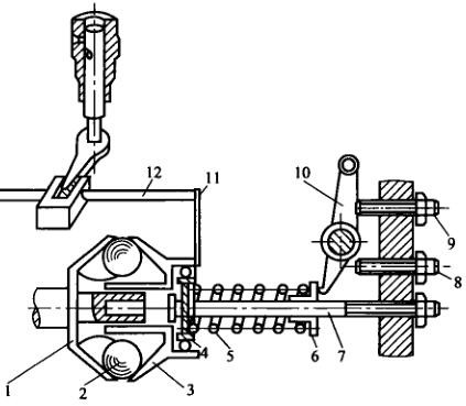
如下图所示为一种两极式调速器的工作原理图。这种调速器可在两种转速(低速和标定转速)下起作用。其主要特点是调速弹簧由两根组成,外调速弹簧较长,但其刚性较弱;内调速弹簧较短,但刚性强。外弹簧的预紧力小而内弹簧的预紧力大。在未工作时两弹簧之间保持一定距离。此外,供油拉杆既可由调速器操纵,又可由操作者直接控制。
两极式调速器工作原理图
1-传动盘;2-飞球;3-推力盘;4-外调速弹簧;5-内弹簧;6-内调速弹簧;7-支承杆;8-供油拉杆
两极式调速器的工作情况如下:当柴油机未工作时,外调速弹簧4将供油拉杆8推向供油量最大的位置。当柴油机启动后,转速上升,因外弹簧预紧力小且刚性弱,飞球即可推动供油拉杆向减小供油量的方向移动。当转速升至某一定转速nd时,推力盘与内弹簧座5相接触。这时,由于内弹簧预紧力大而刚性强,因此即使转速继续升高,飞球的离心力仍不足以推动内弹簀座移动。但此时如由于外界负荷变化使转速低于ns时,外调速弹簧即可推动供油拉杆左移增加供油量,以保持柴油机可在nd转速下稳定工作。nd即为最低空转转速。当柴油机转速升至标定转速时,飞球离心力显著升高,其轴向分力与内、外弹簧弹力相平衡。如果这时转速稍许上升,推力盘即推压内、外弹簧,使供油量减少,其工作情况与前述单程式调速器相同。在转速nd与标定转速之间,调速器不起作用,由操作者根据需要调节供油量以实现柴油机转速的基本稳定。
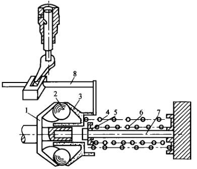
下图为一种全程式调速器的工作原理图,其特点是调速弹簧的弹力可以由操作者在一定范围内加以调节。因此,调速器起作用的转速也相应地在一定范围内变化。

全程式调速器作用原理图
1-传动盘;2-飞球;3-推力盘;4-弹簀座;5-调速弹簧;6-调速弹簀滑座;7-支承轴;8-息速限位螺钉;9-最高转速限位螺钉;10-操纵臂;11-传动板;12-供油拉杆
由操作者操纵的操纵臂10的下端与调速弹簧滑座6相接触。当操纵臂顺时针摆动时,调速弹簧被压紧,弹力增大,使调速器起作用的转速增高。当操纵臂与最高转速限位螺钉9相碰时,起作用的转速达到最大,通常该转速为标定转速。如将螺钉9向外退出,则起作用的转速升高,拧入则降低。
如将操纵臂反时针摆动,则调速弹箦放松,起作用转速降低。当操纵臂下端与怠速限位螺钉相碰时,调速器则在最低空转转速下起作用,以保持怠速工作稳定。由以上分析可见,装有全程式调速器的柴油发动机,操作者通过扳动操纵臂,改变调速弹簀的弹力,来达到改变柴油发动机工作转速的目的,而柴油机的供油量则由调速器根据外界负荷的变化自动地进行调节。这就大大减轻了操作者在负荷变化频繁时的紧张劳动,同时也提高了工作效率。
全程式调速器也可采用两根或多根调速弹簧。通常外弹簧较弱,且有预紧力;内弹簧则较强,呈自由状态(这是与两极式调速器的不同之处)。柴油发动机在低转速工作时,外弹簧起作用。随着转速的升高,内弹簧也开始工作,以适应不同转速范围内调速器性能对弹簧刚性的不同要求。
电力主营的柴油发电机组有康明斯发电机,帕金斯发电机,玉柴发电机,沃尔沃发电机等进口发电机,国产发电机以及中外合资品牌发电机,欢迎来电咨询:13667715899
报价:13667715899
推荐文章
- 动力之源,稳若泰山:解密350KW康明斯柴油发电机组 2026-03-21
- H级绝缘+IP22防护!智能云平台加持,这台80kw玉柴柴油发电机组,坐在办公室就能远程操控 2026-03-20
- 80kW玉柴柴油发电机组:当“动力心脏”遇上“智慧大脑”,这才是备用电源该有的样子 2026-03-20
- 为什么数据中心等对电力需求严格的行业都认准“上柴+斯坦福”?解读这台500KW上柴柴油发电机组为何能碾压同级 2026-03-19
- 别让断电给你的工厂带来损失!数据中心都在用的“电力底牌”,让你永不跳闸! 2026-03-19
- 400KW大功率+12缸V型+智能控制:这台400KW上柴柴油发电机组到底有多强? 2026-03-18
- 省钱才是硬道理!这台200KW玉柴柴油发电机组,如何帮你“赚”更多? 2026-03-17
- 300KW沃尔沃柴油发电机组:为何成为众多工程的首选动力? 2026-03-16
- 同样是150kw,为何它更可靠?因为有一颗强劲的“芯”!沃尔沃柴油发电机组,守护您的业务不断电 2026-03-14
- 动力巨擎,智控机组——400KW上柴柴油发电机组,重新定义你的电力保障标准! 2026-03-13






桂公网安备45010702002247